工程塑料橋式全封閉拖鏈
2016-6-28 14:02:47點擊:
工程塑料橋式全封閉拖鏈,涉及一種運輸用鏈條,由若干工程塑料制成的鏈節相互鉸連接組成,相鄰的鏈節之間設置封閉板。由于采用工程塑料制成的鏈節,可大大降低生產、運輸、使用成本,且可減少使用過程中產生的噪音,具有耐磨、耐高溫、不變形、可適應高速運行、壽命長的特點。由于相鄰的鏈節之間設置封閉板形成了封閉的鏈條,可有效防止鏈條在運行過程中受污染,保障生產的正常進行。
1.工程塑料橋式全封閉拖鏈,其特征在于由若干工程塑料制成的鏈節相互鉸連接組成,相鄰的鏈節之間設置封閉板。
2.根據權利要求1所述工程塑料橋式全封閉拖鏈,其特征在于鏈節主要由兩片相對設置、呈倒腰鼓形、由工程塑料制成的板體組成,兩片板體之間分別設置上、下接緊片。
3.根據權利要求2所述工程塑料橋式全封閉拖鏈,其特征在于兩個板體的形狀相同,且相背設置,板體一端側面上設置連接凸臺,另一端側面上設置與所述連接凸臺配合的凹槽。
4.根據權利要求3所述工程塑料橋式全封閉拖鏈,其特征在于板體上設置角度限位件。
技術領域
[0001 ]本實用新型涉及一種運輸用鏈條。
背景技術
[0002〕通常用于運輸的鏈條由鋼性材質制成,生產應用時,除運送物料的重量外,其自身重量大,致使耗用大量的能源,造成鋼性材質之間的相互碰撞,產生高噪音,且,鏈條的生產、運輸成本高。
實用新型內容
[0003]本實用新型目的在于設計一種可降低鏈條生產、運輸、使用成本,減少噪音的工程塑料橋式全封閉拖鏈。
[0004]本實用新型由若干工程塑料制成的鏈節相互鉸連接組成,相鄰的鏈節之間設置封閉板。
[0005]由于采用工程塑料制成的鏈節,可大大降低生產、運輸、使用成本,且可減少使用過程中產生的噪音,具有耐磨、耐高溫、不變形、可適應高速運行、壽命長的特點。由于相鄰的鏈節之間設置封閉的鏈條,可有效防止鏈條在運行過程中受污染,保障生產的正常進行。
[0006〕鏈節主要由兩片相對設置、呈倒腰鼓形、由工程塑料制成的板體組成,兩片板體之間分別設置上、下接緊片。
[0007]兩個板體的形狀相同,且相背設置,板體一端側面上設置連接凸臺,另一端側面上設置與所述連接凸臺配合的凹槽。
[0008]板體上設置角度限位件。可防止大角度轉折導致的兩組板塊之間發生分離。
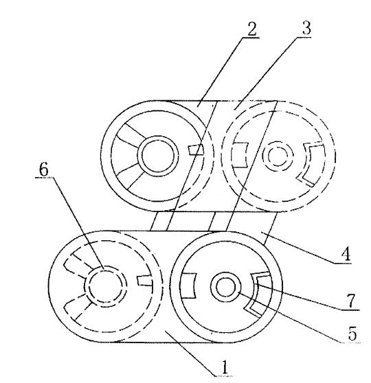
圖一
[0009]圖1為本實用新型的一種結構示意圖。具體實施方式
[0010]如圖所示,本實用新型由若干工程塑料制成的鏈節相互鉸連接組成,相鄰的鏈節之間設置封閉板80Fool 1 ]各鏈節主要由兩片相對設置、呈倒腰鼓形的板體1,2組成,兩片板體之間上、下面分別設置上、下接緊片3,4。
[0012]兩個板體1,2的形狀相同,且相背設置。
[0013]板體1一端側面上設置連接凸臺5,另一端側面上設置與所述連接凸臺5配合的凹槽6。
[0014]板體1上設置角度限位件70
- 上一篇:拖鏈生產工藝質量 2016/7/5
- 下一篇:塑料拖鏈模具結構設計 2016/6/21
